NSN 5310-00-050-3478
Part Details | WELDING PLAIN NUT
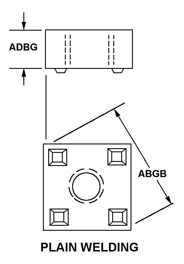
5310-00-050-3478 A nut with projection(s) that is/are designed to localize heating, during welding, at predetermined points and to fuse with the metal to which the nut is mounted.
Alternate Parts: 503478, 5310-00-050-3478, 00-050-3478, 5310000503478, 000503478
| Supply Group (FSG) | NSN Assigned | NIIN | Item Name Code (INC) |
|---|---|---|---|
| 53 | JAN 01, 1963 | 00-050-3478 | 15885 ( NUT, PLAIN, WELDING ) |
REFERENCE DRAWINGS & PICTURES
PLAIN WELDING
Cross Reference | NSN 5310-00-050-3478
| Part Number | Cage Code | Manufacturer |
|---|---|---|
| 503478 | 19207 | U S ARMY TANK AUTOMOTIVE COMMANDAMSTA-IM-MM |
Technical Data | NSN 5310-00-050-3478
| Characteristic | Specifications |
|---|---|
| THREAD SERIES | UNC |
| NOMINAL THREAD SIZE | 0.375 INCHES |
| THREAD QUANTITY PER INCH | 16 |
| THREAD CLASS | 2B |
| THREAD DIRECTION | RIGHT-HAND |
| NUT STYLE | PLAIN WELDING |
| NUT THICKNESS | 0.250 INCHES NOMINAL |